Overslaan en naar de inhoud gaan
Snowboard maakt sprong in sneeuw. Rechterdeel afbeelding is octrooitekening van de helm, bril, jas en kliksysteem.

Met jouw innovatie start de weg naar goud

Achter elke prestatie zit waardevolle innovatie. Zo ook in de sportwereld. Van klapschaats tot padelracket: veel topprestaties beginnen met technologische doorbraken. Octrooicentrum Nederland helpt innovators hun ideeën optimaal te benutten, zodat Nederlandse technologie het podium bereikt. Met de juiste strategie voor intellectueel eigendom (IE) geef je jezelf een winnende voorsprong - en dat is goud waard.

Het verschil tussen meedoen en winnen

Net als in topsport draait succesvolle innovatie om meer dan een goed idee. Alleen met toewijding, doorontwikkeling en de juiste strategie op het juiste moment maak je van een goed idee de sprint naar een succesvolle doorbraak. Dit vraagt om inzicht in de innovaties waar je concurrenten mee bezig zijn, om de keuze de innovatie wel of niet te beschermen, en de timing rondom de mogelijke eerste stappen voor die bescherming. Octrooicentrum Nederland helpt je bij het maken van deze strategische keuzes. We helpen je bij het maken van de keuzes die passen bij jouw innovatie, jouw markt en jouw ambities. Zo geef je jezelf de voorsprong die het verschil maakt tussen meedoen en winnen.

Ontdek wat Octrooicentrum Nederland voor jou kan betekenen

Meer weten over het aanvragen van een octrooi of andere intellectuele eigendomsrechten? Verken onze diensten, lees meer verhalen of neem gelijk contact op. 

1 Start jouw weg naar goud

Ontdek welke IE-keuzes passen bij jouw innovatie en geef jezelf een winnende voorsprong.

Nederlandse padelinnovatie gaat de wereld over; van virale video’s tot namaakversies

Jens Peeters (21) is mede-eigenaar van PadelGrab. Al snel stond het internet vol met goedkope, nagemaakte varianten van zijn slimme padelgadget. Wat kon hij doen?

'Mijn verhaal is uniek; met de juiste voorlichting bepaalde ik mijn IE-strategie'

Lees het volledige verhaal van Menno over hoe hij na een wintersportongeluk rugbeschermers ging ontwikkelen voor intensieve sporters.

Octrooien in de sport

Octrooiaanvraag op de schaats

Nederlanders denken bij schaatsen al snel aan de klapschaats, maar kunst- en ijshockeyschaatsen hebben andere eigenschappen. Een Nederlandse ingenieur zag kansen voor optimalisatie van de hoge schaats. In zijn ontwerp zijn de glij-eigenschappen over de hele onderzijde optimaal voor snelheid. Het profiel aan de zijkanten van het ijzer zorgen voor grip. Hierdoor is de schaats snel, wendbaar én blijft het profiel intact bij het slijpen van het ijzer. Een innovatie met een gouden randje. Bekijk de octrooiaanvraag op Espacenet: NL1043504B1

Octrooitekening van een uitvinding voor kunstschaatsen en ijshockeyschaatsen.

Snowboard met flexibele handvatten

Twee Nederlandse ingenieurs zagen ruimte voor innovatie bij een snowboard, bedoeld voor beginners en mensen die meer willen experimenteren. Ze vroegen een octrooi aan op een nieuw ontwerp: een board met flexibele handvatten, die met scharnieren van buigzaam materiaal zijn bevestigd. Deze innovatie geeft de snowboarder meer controle en bewegingsmogelijkheden. De handvatten bewegen mee bij een val. Een gouden greep in de snowboardwereld! Bekijk de octrooipublicatie op Espacenet: EP1759738B1.

Octrooitekening van een aangepast snowboard.

Shuttle in piramidevorm

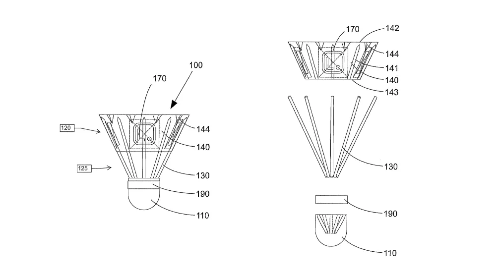
Een Nederlandse innovator zag kansen voor optimalisatie van de badmintonshuttle. Waar traditionele shuttles met veren snel beschadigd raken, zorgt de flexibiliteit van plastic kegelvormige alternatieven juist voor afwijkingen. De innovator ontwikkelde daarom een piramidevormige shuttle, waarvan de ribben bij elkaar worden gehouden door een dun vel. Deze combinatie zorgt ervoor dat de shuttle zijn vorm behoudt bij harde slagen. Een extra voordeel is dat het vel tussen de ribben bedrukt kan worden. Bekijk het octrooi op Espacenet: EP3799577.

Octrooitekening van een badmintonshuttle

Adapter voor racefietspedaal

Wie een racefiets heeft met klikpedalen, kan er met gewone schoenen nauwelijks veilig op rijden. Een Nederlandse uitvinder bedacht daar een slimme oplossing voor. Zijn adapter maakt van een klikpedaal een gewoon, plat pedaal, geschikt voor elke schoen. Zo hoef je geen pedalen te wisselen of speciale schoenen aan te trekken voor een korte rit. Bekijk het octrooi op Espacenet: EP3541696B1.

Octrooitekening van een fietspedaal.

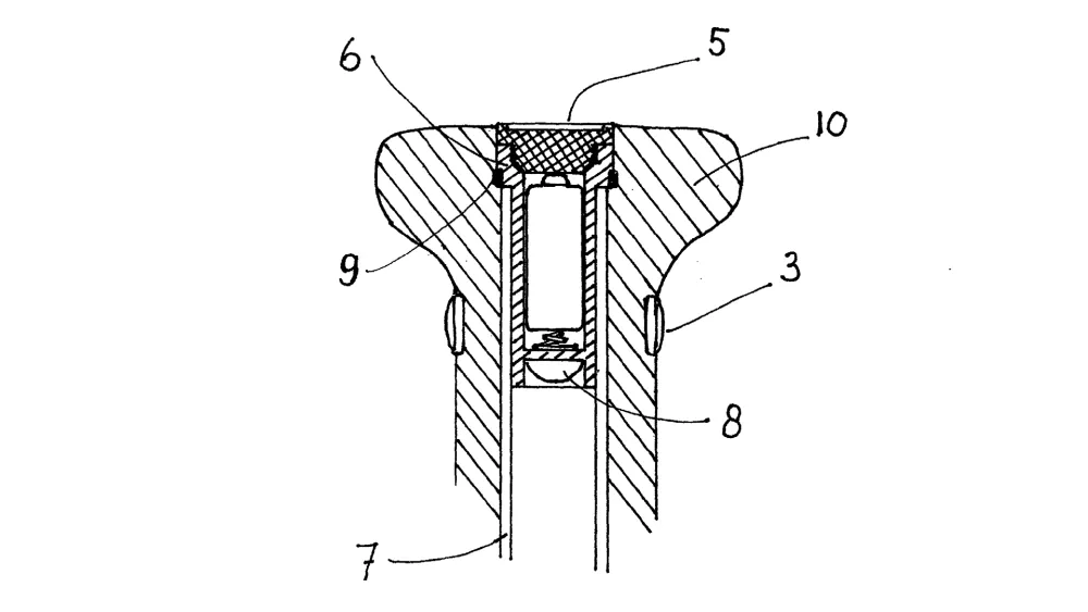
Skistok met richtingaanwijzer

Om gevaarlijke situaties op de piste te voorkomen bedacht een Nederlandse ingenieur iets heel handigs. Zijn uitvinding: een skistok met ingebouwde richtingaanwijzer. Door een drukknop in het handvat met de duim te bedienen, activeert de skiër een ledstrip die enkele seconden fel knippert. Het intellectueel eigendom zit hierbij zoals altijd, niet op het idee, maar op de uitvoering van de richtingaanwijzer! Bekijk de octrooipublicatie op Espacenet: NL1041932B1.

Octrooitekening van een richtingsaanwijzer in een skistok.

Vragen?

Wij staan voor je klaar.

Bel 088 042 40 02 (kies 1)